百度原创侵权举报流程
• 第一步:
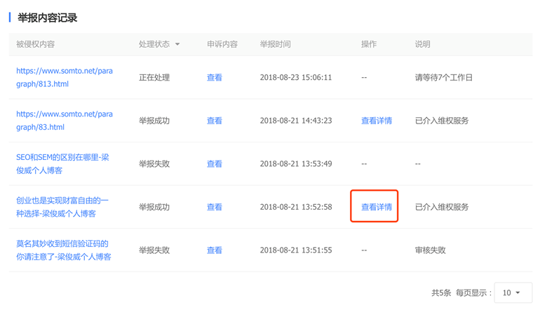
当提交的举报内容处理状态变为“举报成功”时,选择是否介入维权服务

• 第二步:
若要使用维权服务,则点击“去初审”button。首次使用请先了解并同意使用该服务

• 第三步:
选择使用维权服务后首先进入初审状态,初审预计用时1天。请点击“查看详情”了解具体进度。


• 第四步:
初审失败,则无法进行下一步的维权操作。

• 第五步:
初审成功,点击“去维权” button后,申请维权服务。


• 第六步:
维权界面(以批量维权界面为例),在左上角首先选择维权内容类型“图片”或者“文字”,其次,“请选择维权机构”处,选择希望委托的维权机构,在页面中央勾选希望维权的侵权线索,点击“提交”,发起维权。

提交后,同意“版权保护协议须知”,进入下一步流程。(首次使用)
• 第七步:
签署维权协议并提交,正式发起维权。


• 第八步:
查看维权进度,点击“查看详情”后,可在我的维权界面中查看。

1. 在我的维权界面,可查看维权进度(右上角有小红点则表示进度有更新)。任务在关键节点有高亮提示,任务出现问题有红色警示。
i. 线索审核:
通过 →请点击“提交材料”,提交权属材料
不通过 →任务自动终止
审核中
ii. 材料审核:
通过 →自动进行维权
待补充 →请点击“补充材料”,补充所需材料
三次审核不通过→任务自动终止
审核中
iii. 维权进行中
iv. 维权成功:
删除下架
经济赔偿

2. 线索发起维权后,将进入线索审核环节
线索审核不通过会返回相关原因(审核结果将在7个工作日内返回)。
如果线索审核通过后,即可完善维权所需相关材料:
i. 版权登记信息

ii. 提交原稿/首发链接和创作声明(个人/机构)

注:“版权登记书”与“原稿和创作声明”可选择其中一个提交,或全部提交。
i. 补充权属材料
填写、补充所需材料后即可专心等待维权进行。









