分享专利年费缴纳
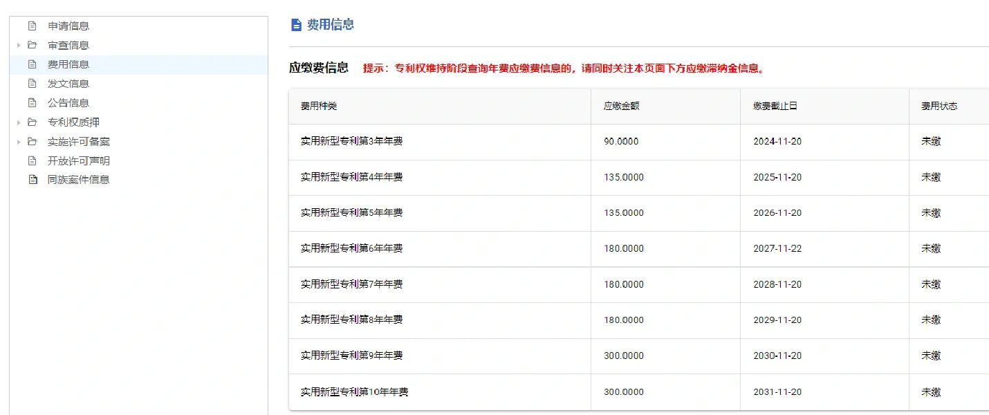
谁能想到收银员也会负责维护公司的年度专利费如果实用新型和发明专利的年费在授权后的一定时间内没有支付,这些专利可能会产生滞纳金,甚至在未来终止 年费查询步骤: 步骤1:打开专利搜索网站https://cponline.cnipa.gov.cn/ 第二步:点击右上角的登录按钮->自然人登录(无账号者可先注册后登录) 第三步:查看前几年专利年费的支付情况和后续支付情况:登录并点击专利支付服务->费用查询->支付服务->专利费用查询->输入专利号->点击查询的专利 您可以看到前几年专利费的支付情况以及后续需要支付的年费 为公司支付应用程序开具发票的步骤: 支付服务->电子支付列表->支付列表填写->在出现的界面上填写信息->导入已支付专利的列表(导入模板可以在系统中导出填写,对于较少的专利可以直接添加)->最后提交->在支付列表中查询申请的详细信息->下一步,等待专利局的电子邮件发送发票 附言:有时通过网站不清楚专利年费是全额支付还是超额支付。您可以拨打010-62356655联系客服查询。每个电话可以查询5项专利!
¥ 议价
我已阅读并同意
《中介网服务协议》
推荐经纪人
1、标的信息为卖家提供,中介网不对该信息真实性或准确性作保证。
2、若需查询更多信息请联系中介网经纪人核实。
3、为了安全起见,不要轻易与卖家进行线下交易;非平台线上中介的项目,出现任何后果均与中介网无关,无论卖家以任何理由要求线下交易的,请联系中介网经纪人举报。
详细介绍
服务介绍
常见问答


















